Si vous avez une idée.
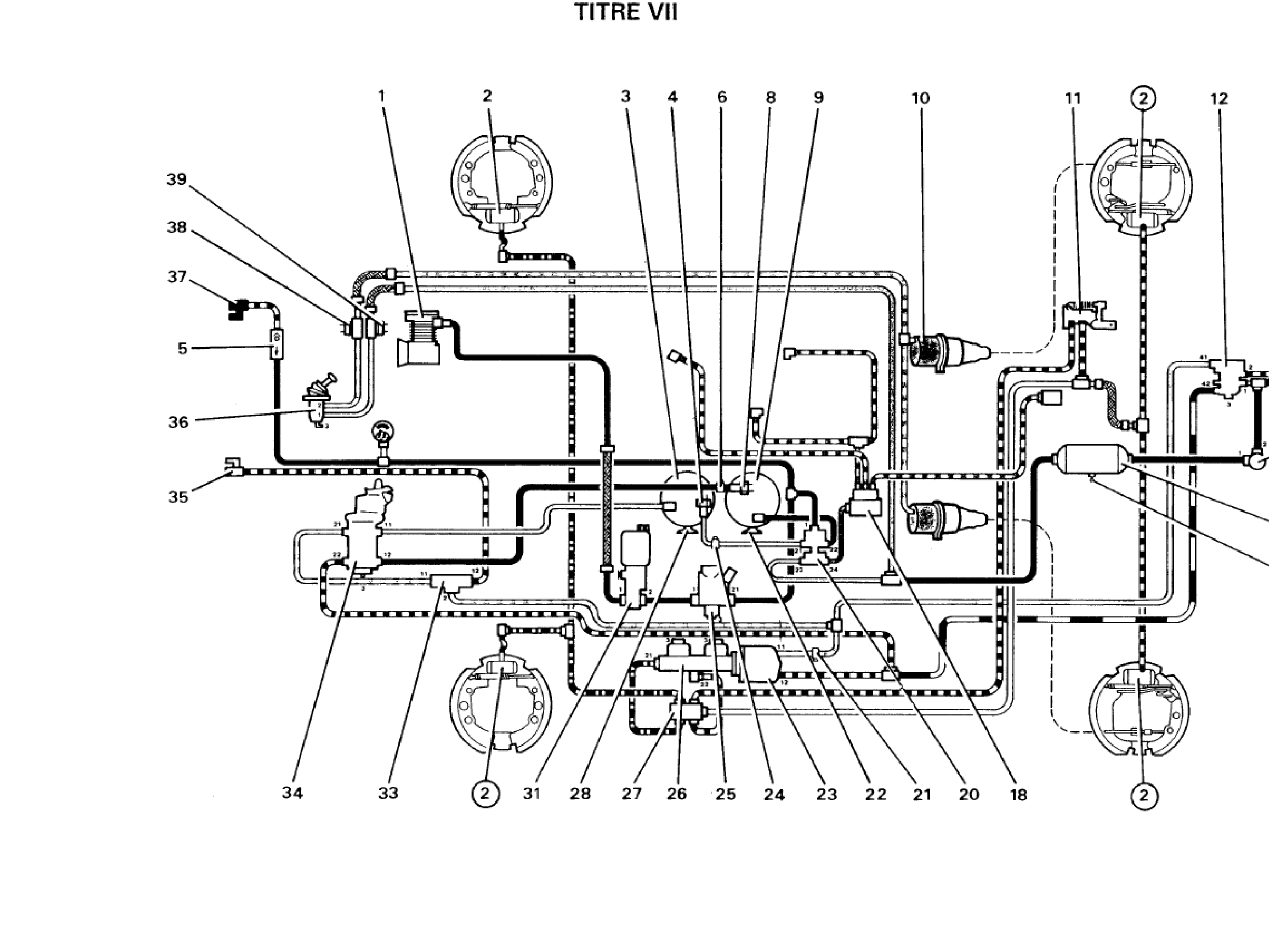
J'ai un gros déséquilibre (je suis dans le rouge au banc, donc pas la peine de me rendre au CT et c’est pour cela que nous ne pouvons pas nous rendrent au ptit’gros car le CT expire le 2/5) sur le freinage entre les deux roues arrière.
Emetteur remis a neuf, purge ok, garniture ok, récepteur en bonne état (démonté, pour vérif), rattrapage automatique remis au plus prés et toujours pareille.
Je vais intervertir les tambours pour voir, ou celui-ci et trop glacer. Pourtant j’ai passé en premier lieu du papier de verre sur le tambour et les garnitures.
Déjà 4 jours de passer dessus, 200€ de kit réparation du maître cylindre et pas d’amélioration.
Bon rassemblement a tous, malgré le temps.
Thierry




